苹果推出了新专利一款离开屏幕也能照常使用手写笔

日期 | 2018-03-07 来源 | 设计邦

  乔布斯(steve jobs)一直以来都坚持不推出苹果专用的手写笔。苹果的设备虽然没有手写笔,但是苹果已经获得了至少32 项有关手写笔的专利了。日前,Apple Insider 又透露了一个新的专利。根据美国专利商标局的文件,代号为No.8922530 的苹果专利是一个“通讯手写笔”,它通过陀螺仪、无线通讯装置和内置储存芯片将手写内容传输到电子设备的屏幕上。和苹果其他的手写笔专利不同,这次的专利中,这款手写笔可以在水平、垂直和凌空状态完成书写。此外,它还可以在一块空白的电子模块上手写,书写下的内容会传输到周围的电子设备屏幕上。这不仅仅是一支手写笔,而是一个魔杖。

WDCM上传图片

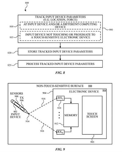
  看到这个设备就能一目了然的知道,专利文件特别提及“力传感器”,该专利很可能就是下一代Force Touch 技术。输入装置的力传感器可以检测非触敏表面上的笔尖触地和抬起。输入设备的位置和/或运动可以根据包括运动定向传感器、相机或基于电磁或声音的三角测量方案中的一种或多种方法来追踪。甚至可以让手写笔脱离苹果设备,在真实世界中与3D 物体互动,手写笔中的运动和加速度计会被用来追踪位置信息。而且这个先进的智能手写笔,通过陀螺仪、无线通讯装置和内置储存芯片将手写内容传输到iPhone、iPad等电子设备的屏幕上。并且,其无论是在水平、垂直,还是凌空状态,都可以完成手写。

WDCM上传图片

  我们都知道,苹果的大多数专利最终都不会作为实际产品问世,所以针对这些专利文件,看看苹果的想法也是不错的。苹果仍然是这样的,虽然专利文件还提到乔布斯曾经说过:“手写笔已经成为炙手可热的手写设备,成为流行输入设备”。

WDCM上传图片

 

WDCM上传图片